Отвертка "Мастер" шлицевая 375 (КВТ) 77396
Характеристики:
(смотреть все)
Код производителя
77396
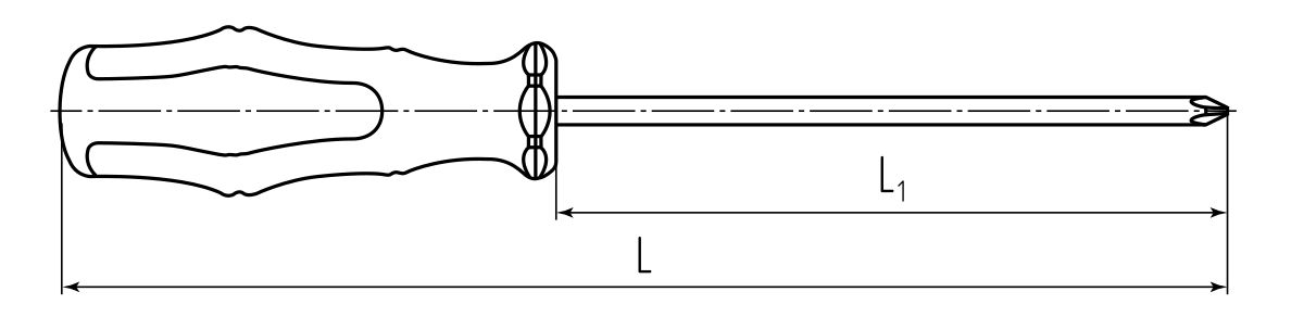
Длина стержня, мм
Материал рукоятки
Тип наконечника
Толщина шлица, мм
Размер шлица
67 руб. без НДС
81 руб. с НДС
Нашли данный товар дешевле?
