Отвертка "Мастер" PZ2125 (КВТ) 77404
Характеристики:
(смотреть все)
Код производителя
77404
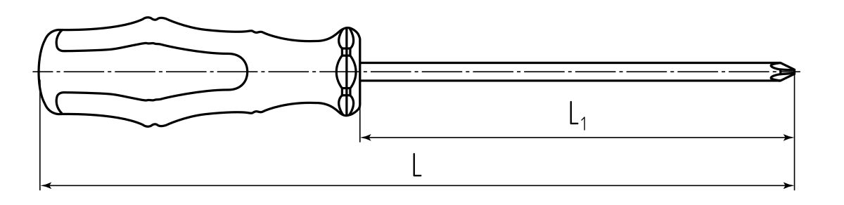
Длина стержня, мм
Материал рукоятки
Тип наконечника
Размер шлица
135 руб. без НДС
165 руб. с НДС
Нашли данный товар дешевле?
